冲上热搜!小红书拿下“老红书”商标

来源:未知

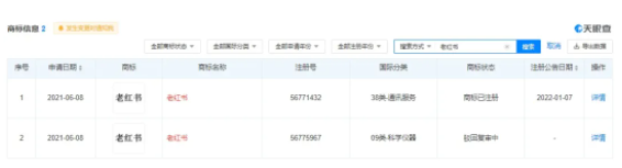
1月14日消息,天眼查信息显示,近日,小红书科技有限公司申请注册的“老红书”商标成功注册,商标国际分类涉通讯服务,注册公告日期为2022年1月7日。#小红书申请老红书商标获批冲上微博热搜第一,热度值超124万。


对此,有网友神回复称,“等我们老了,看着小红书、用着老米手机、喊着老爱同学,开着老鹏汽车,骑着老牛电动车,最浪漫的事就是和你们一起慢慢变老。”


image.png


image.png


但是,小红书公司申请的科学仪器老红书商标被驳回,该商标申请于2021年6月8日,目前状态为“驳回复审中”。

image.png

对于此事,小红书11月10日在官方微信公众号回应称,目前处于正常流程,正在发起复审。


小红书表示,申请“老红书”的起因是,法务部在日常商标监测过程中发现有第三方试图抢注多个模仿“小红书”的“老红书”商标。“老红书”商标于‍‎⁢‍‬‬‎2021年6月8日‍‎⁢‍‬‬‎提出申请,而在此之前已有人于‍‎⁢‍‬‬‎2021年6月7日‍‎⁢‍‬‬‎提交了一件“红书”商标。


对此,小红书一面对抢注商标提出异议申请,另一面补充了公司自己的“老红书”商标申请,以免后续再被抢注。


天眼查信息显示,小红书科技有限公司成立于2018年10月,法定代表人为曾秀莲,注册资本5000万美元,经营范围包括玩具、化妆品、工艺美术品(文物、象牙及其制品除外)、文化用品、体育用品、办公用品、摄影器材、电子商品的销售、网上零售等。


image.png


据天眼查信息显示,截至目前,小红书共计申请商标543件。“小红薯”、“小红屋”、“小红书绿洲”......应有尽有。


image.png

然而,在目前申请中的7件“老红书”商标中,有5件并非出自小红书科技有限公司,并且其申请时间还要早于小红书。

image.png

“小红”变成“老红”的确喜剧感十足,但笑着笑着就笑不出来了,背后是残酷的商标战。的确,正经企业去抢注各种奇葩商标作为“防御性商标”,几乎成为一项日常工作。

近日爆火的王老吉“百家姓”版,注册100多个商标让山寨无路可走,还有大家熟知的老干妈,除了对核心商标“老干妈”进行了全类别注册,还注册了“老妈干”、“妈干老”、“老姨妈”、“干儿女”、“干儿子”、“老干爸”、“老干娘”、“老乾妈”、“老千妈”、“陶华碧新干妈”、陶华碧老干娘”、“陶华碧老亲娘”、“陶华碧老亲妈”等防御商标。

image.png

而小米公司,则把红米、蓝米、黑米、紫米、橙米、绿米、黄米、桔米的商标全都注册了。
《商标法》的一般原则是“注册在先”,谁先注册商标,法律保护谁。从维权角度来说,一旦商标被其他人“注册在先”,再通过异议、撤三、无效等手段维权,成本就会很大,导致很多企业不得不先“防御性”占上坑再说。

比如,在“六个核桃”之外,“七个核桃”“八个核桃”“六亿核桃”“六棵核桃”“大个核桃”各种“山寨货”横行,但是,从商标法的角度来说,“六个核桃”维权还真的挺困难,因为这些“N个核桃”可能都早就已经注册了。

所以,也不用对小红书注册“老红书”感到大惊小怪,相反,还是小红书“下手晚了”!


image.png


来源|商标专利那些事