硬派越野坦克300,遭遇“商标危机”

来源:未知

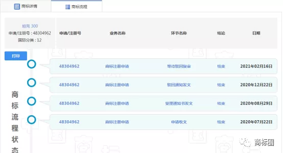
据中国商标网相关信息显示:自去年7月以来,长城汽车股份有限公司申请的“坦克·WEY”、“坦克·400”、“坦克·500”、“坦克·600”、“坦克700”、“坦克·800”、“坦克·越野”、“坦克汽车”、“坦克SUV”等商标,均处于无效状态。其中,销量最火的“坦克·300”商标申请目前的状态是“驳回复审中”。


image.png


根据《商标法》第三十条规定,“申请注册的商标,凡不符合本法有关规定或者同他人在同一种商品或者类似商品上已经注册的或者初步审定的商标相同或者近似的,由商标局驳回申请,不予公告”。

其实,早在2014年,上海跳跃网络科技有限公司就注册了“坦克300”的商标名称,不过目前处于“申请被驳回、不予受理等,该商标已失效”状态。小编发现,由于长城汽车坦克300商标名称尚未注册成功,今年4月分别有两家公司相继注册了“坦克300”商标名称,均处于“等待实质审查”状态。

 

对于一个品牌来说,标识(Logo)是品牌发布的重要一步,也是品牌内涵的具象化表达。今年4月上海国际车展上,坦克品牌宣布独立并发布全新品牌标识。


image.png

 

按照坦克品牌官网信息,坦克Logo由“T”和“U”两大字母组成。T代表坦克(TANK)品牌、科技(Technology)和潮流(Trend)的定位,U代表用户(YOU)和共创(United)。坦克Logo的设计意在诠释品牌“铁汉柔情”的主张。

 

坦克注册商标遇到问题,不意味着长城汽车没有了回旋余地。小编通过专业人士了解到,若商标被恶意抢注,长城汽车可能会面临以下困境:抢先注册的商标的存在可能构成阻碍长城汽车就相同或近似商标在相同或类似商品/服务上进行商标注册的障碍,自身商标可能无法核准注册,从而使商标使用受到限制,甚至不得不变更商标或字号;恶意注册多半是攀附长城公司知名度的小公司或个人,容易造成公众认知混淆,损害长城商业信誉,从而弱化在先权利人的品牌识别度。

 

image.png


对于恶意抢注行为,长城汽车作为在先权利人而言,有以下法律救济途径:及时关注相关商标的申请状态,如果还未被核准注册,可以在商标公告阶段及时提出异议,避免被核准注册,如果商标已经被注册下来,可以以他人以不正当手段恶意抢注损害长城公司在先权利为由,请求商标局就诉争商标作出予以撤销或宣告无效的决定。






专业知识每日分享











           

     异议、撤三、无效宣告网上申请如何补充提交证据材料?

  答:首先,申请人在提交异议和无效宣告申请时需在“是否保留补充材料的权利”或“是否需要提交补充证据材料” 栏选择“是”。申请人选择“是”后,可在三个月内提交补充材料。未选择的,无法提交补充材料。

  其次,在申请提交成功后,在申请管理中选择具体案件,在“操作”栏中点击“补充材料”即可进行相应操作。

来源|商标圈