字节跳动申请“字节付”“BYTEPAY”商标

来源:移动支付网

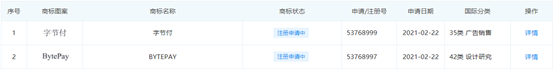
企查查信息显示,北京字节跳动科技有限公司(以下简称“字节跳动”)于2021年2月22日申请注册了“字节付”“BYTEPAY”商标,国际分类为广告销售、金融物管等,商标状态为“商标申请中”。

事实上,这并不是字节跳动首次申请这两个商标,早在2018年、2019年,字节跳动便已着手“字节付”“BYTEPAY”的相关商标申请。

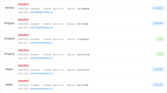
同样类似的操作,还涉及“抖音支付”、“doupay”等商标。

此外,在2018年字节跳动刚刚涉水金融业务时,还同步申请了“多闪支付”、“多闪付”、“多闪钱包”等多个支付服务相关商标。另一方面,字节跳动去年被曝已经拿下douyinpay.com域名。对此字节跳动方面回应称,是为防止第三方恶意侵权。

无论是商标还是域名,这都是字节跳动进军支付领域的必要举措。

2020年8月,第三方支付机构武汉合众易宝科技有限公司(下称“合众支付”)发生投资人变更项目,原股东中发实业(集团)有限公司退出,天津同融电子商务有限公司成为合众易宝唯一股东。后者实际控制人正是字节跳动创始人张一鸣,这意味着字节跳动也有了自己的支付牌照。对此字节跳动方面回应表示,这将有利于提升用户体验。并与其他支付方式一起,更好地服务字节跳动旗下产品的用户。

公开资料显示,合众支付成立于2012年11月,并在2014年7月获得由中国人民银行颁发的《支付业务许可证》,获准开展互联网支付业务,资质较为单一。合众支付是湖北省首家持牌互联网支付企业,但实际上其公司员工多在北京。

进入2021年,用户在抖音下单时,除了常见的支付宝、微信支付外,还可选择使用“抖音支付”进行结账,抖音支付正式走进大众视野,其服务实际便由合众支付提供。

申请“字节付”“BYTEPAY”商标,或许意味着在今日头条等产品上的支付服务,将采用和抖音不一样的品牌名称。