华为申请“姚安娜”等商标

来源:中关村在线

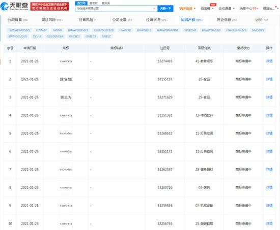
华为技术有限公司新增多条"姚安娜"、"姚思为"、"YAO ANNA"、"YAO SIWEI"、"Annalbel Yao"的商标信息,分类涉及机械设备、啤酒饮料、服装鞋帽等。天眼查App显示,申请日期为2021年1月25日,目前商标状态显示为“商标申请中”,商标国际分类涉及教育娱乐、机械设备、科学仪器等。

1.jpeg

姚安娜是任正非的小女儿,其母是任正非的第二任妻子姚凌,本科毕业于哈佛大学电脑工程和统计数据专业。

2021年1月10日,姚安娜签约天浩盛世,据红星新闻报道,任正非曾亲自前往经纪公司了解具体规划。1月14日,姚安娜正式在个人微博上宣布了出道的消息。1月15日,姚安娜的首个商业代言出街。1月18日,姚安娜发布首支单曲《Back Fire》 。

天眼查App显示,姚安娜所在的北京天浩盛世娱乐文化有限公司成立于2014年12月,法定代表人周浩,是北京天浩盛世娱乐文化有限公司的第一大股东,持股比例为55.69%;第二大股东为北京乐华圆娱文化传播股份有限公司,持股比例为20%,杜华是乐华圆娱文化最大股东。此外,歌手谭维维也持有北京天浩盛世娱乐1.8%的股权。